Область применения обратного клапана для воды
Клапан обратный полнопроходной предназначен для использования в напорных горизонтальных и вертикальных с восходящим потоком трубопроводах; устанавливается на водопроводных и канализационных трубопроводах.
Материал изготовления
| Корпус, крышка |
Чугун СЧ20 с покрытием на основе эпоксидной смолы |
| Блокирующий диск |
Резина НО-68-1 (со стальным диском) |
| Уплотнение крышки |
Паронит или резина |
Назначение обратного клапана Иртыш КСВ Ду100 Ру16
Клапан обратный относится к виду защитной трубопроводной арматуры, предназначенной для недопущения изменения направления потока среды в технологической системе.
Обратный клапан для воды пропускает среду в одном направлении и предотвращает её движение в противоположном. Предназначен для работы в следующих условиях:
- температура окружающей среды от 0 до + 80°С (273…353 К);
- температура перекачиваемой среды от 0 до + 100°С (273…373 К);
- рабочее давление потока среды до 1,6 МПа.
Тип перекачиваемой среды: чистая вода производственно-технического назначения (кроме морской), вода отопительной системы, хозяйственная, холодная и конденсационная, смесь воды с гликолем (гликоль до 40%) с pH 6…9, температурой от 263 до 373К (от -10 до +100°C) и других жидкостей, сходных с чистой водой по плотности, вязкости и химической активности, содержащих твердые включения в количестве не более 1% по объёму и размером частиц — до 80 мм.
Название элементов
1 - Серия клапанов обратных - Иртыш;
2 - Вид трубопроводной арматуры:
К - клапан обратный;
3 - Вид протекающей среды:
В - чистая вода;
СВ - сточная вода;
4 - Условный проход, мм;
5 - Рабочее давление, МПа;
6 - Варианты комплектации клапана обратного:
0 - без ответных фланцев;
1 - с ответными фланцами;
7 - Исполнение блокирующего диска:
0 - стальной гуммированный диск;
8 - Тип материала блокирующего диска:
0 - резина НО-68-1;
1 - пербутан;
2 - витон;
3 - силикон.
Условное обозначение арматуры
|
Иртыш
|
К
|
СВ
|
100
|
-1,0
|
-0
|
0
|
0
|
|
1
|
2
|
3
|
4
|
5
|
6
|
7
|
8
|
Клапан обратный Иртыш КСВ Ду100 Ру16

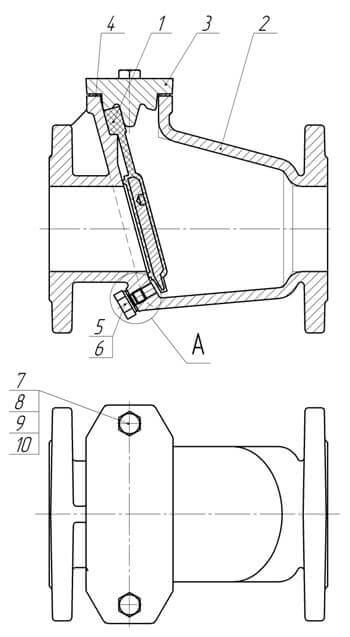
Разрез А

Расшифровка обозначения
1 - блокирующий диск;
2 - корпус обратного клапана;
3 - крышка корпуса;
4 - прокладка (паронит или резина) h=2мм;
5 - пробка М12;
6 - прокладка (паронит) h=2 мм;
7, 8, 9, 10 - метизы крепления крышки к корпусу;
11 - болт М12х50;
12 - гайка М12;
13 - прокладка (паронит) h=2 мм.
Класс герметичности затвора – В по ГОСТ 9544, пробное вещество вода давлением 1,76 МПа.
Устройство обратного клапана для воды
Узел состоит из литого корпуса, подвижного обрезиненного блокирующего диска и крышки корпуса.
Конструкция корпуса обеспечивает 100% свободного прохода по номинальному диаметру, что уменьшает гидравлическое сопротивление и шум. Клапаны не склонны к засорению и поэтому не нуждаются в техническом обслуживании.
По требованию заказчика обратный клапан для воды может быть оборудован отжимным болтом, отодвигающим диск с посадочного места и позволяющим при необходимости опорожнить трубопровод.
Принцип действия
При отсутствии потока среды через арматуру обрезиненный блокирующий диск находится в положении «закрыто». При возникновении потока блокирующий диск под действием напора поднимается и открывает проход через клапан.
При отсутствии давления на линии (остановке движения среды) диск возвращается в исходное закрытое положение. Давление с обратной стороны прижимает диск, препятствуя возникновению обратного потока среды.
Таким образом, срабатывание обратного клапана для воды происходит под действием самой среды и является полностью автоматическим.
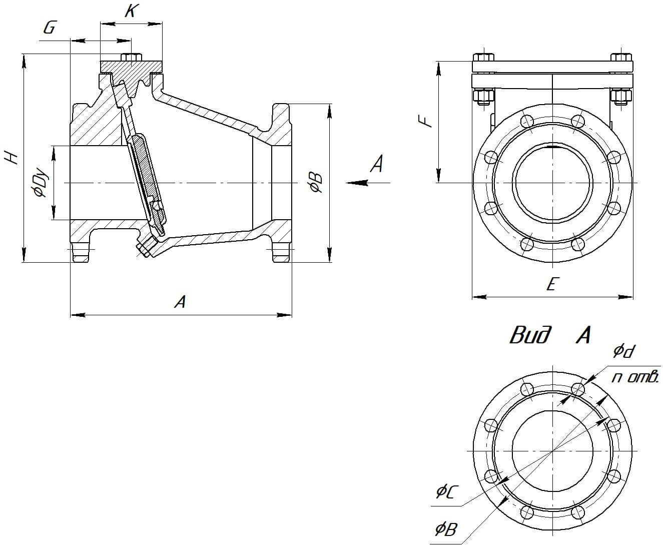
Габаритные и присоединительные размеры
|
Dy
|
Размеры, мм
|
Вес, кг
|
|
A
|
B
|
C
|
E
|
F
|
G
|
H
|
K
|
d
|
n
|
|
100
|
300
|
215
|
180
|
218
|
164
|
83
|
283,5
|
85
|
18
|
8
|
28
|
