Заявка пуста

Обратная связь

Ваше сообщение успешно отправлено. Спасибо.

Поршневой компрессор К-3

111_441833259
3 5 2 Product
Цена по запросу

+

Характеристики

710 кг
210 х 76 х 150 см
500 л
+
2200 л/мин
3000 л/мин
10 кг/м²
ZS177F

Компрессоры серии К-3 способны обеспечить подачу сжатого воздуха в объеме до 2,2 тысячи л/мин. Его можно использовать для подключения пневматического инструмента. Также сжатый воздух активно применяется в пескоструйных установках.

ОДО «Предприятие «Взлет» предлагает купить компрессоры К-3 с доставкой в Астану, Алматы и другие регионы Казахстана. Они могут оборудоваться двумя электрическими силовыми установками. В этом исполнении агрегат можно устанавливать в производственных цехах, мастерских и других замкнутых помещениях. В отличие от дизельных и бензиновых двигателей электромотор не выделяет вредных выхлопов.

Полный список агрегатов смотрите на странице Поршневые компрессоры

Особенности конструкции и монтажа оборудования

Для выравнивания пульсации потока воздуха предусмотрен ресивер на 500 литров. Он способен выдерживать и обеспечивать в выходном патрубке давление газовой среды до 10 Бар.

Ресивер также обеспечивает быстрый старт работы подключенного пневматического оборудования и возможность сократить время непрерывной работы электромоторов. Что позволяет улучшить их охлаждение, продлить срок службы агрегата и снизить расход электроэнергии.

С точки зрения способа монтажа компрессор К-3 относится к стационарным. Вес в сборе составляет 710 кг. Он устанавливается на ровный прочный пол. Под лапы ресивера при стационарном монтаже устанавливаются амортизаторы из резины или аналогичных по виброгасящим свойствам материалов. Это позволяет значительно снизить вибрации оборудования при работе. Чтобы уменьшить передачу колебаний на фундамент, гайки крепления затягивают с определенной степенью свободы, не перетягивают. Это обеспечивает эффективный режим работы резиновых подкладок.

К преимуществам агрегата относят неприхотливость в обслуживании и простоту освоения работы с ним. Для автоматического управления компрессором предусмотрены реле. Они включают силовые установки при снижении давления в ресивере.

Технические характеристики компрессора К-3

Тип Стационарный
Производительность, л/мин 2200
Давление, бар 10
Объем ресивера, л 500
Расположение ресивера Горизонтальный
Мощность, кВт 2 х 11
Напряжение, В 380
Модель компрессорной головки С-415М
Тип привода Ременной
Размер, мм 2100х760х1500
Вес, кг 730
Реле давления Два
Страна Россия

Установка компрессорная, модель К-3

Установка компрессорная, модель К-3
  • 1-ресивер;
  • 2(1), 2(2)-пускатель магнитный;
  • 3-ограждение;
  • 4-головка компрессорная;
  • 5-трубопровод;
  • 6-ремни приводные;
  • 7-двигатель.

Схема пневматическая принципиальная

Схема пневматическая принципиальная установки компрессорной, модель К-3
  • 1,2-головка компрессорная;
  • 1-ресивер;
  • 2(1), 2(2)-воздушный фильтр;
  • 3-клапан предохранительный;
  • 4-коллектор цилиндра низкого давления;
  • 6(1), 6(2)-цилиндр низкого давления;
  • 7-холодильник;
  • 8(1), 8(2)-цилиндр высокого давления;
  • 9-блок обратного клапана;
  • 10-пробка сливная;
  • 11-предохранительный клапан;
  • 12-манометр контроля давления воздуха;
  • 13-реле давления;
  • 14-вентиль раздаточный;
  • 15-коллектор цилиндра высокого давления.

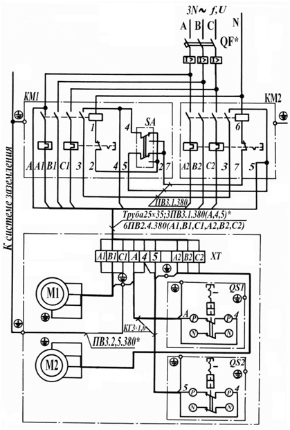
Схема электрическая принципиальная и соединений установки

Схема электрическая принципиальная и соединений установки компрессорной, модель К-3

Схема строповки

Схема строповки установки компрессорной мод.К-3

 

Список комментариев:
Никаких комментариев пока не отправлено.
Рейтинг:

Оставьте отзыв о товаре:

Логин:

Другие модели из категории

Наверх