Заявка пуста

Обратная связь

Ваше сообщение успешно отправлено. Спасибо.

Поршневой компрессор С-415М

111_468077809
5 5 1 Product
Цена по запросу

+

Характеристики

270 кг
175 х 60 х 130 см
230 л
+
630 л/мин
900 л/мин
10 кг/м²
ZS177F

Поршневой компрессор С-415М отличается высоким давлением (10 бар), высокой производительностью, наличием пневмоавтоматики и объемного ресивера (230 литров). Это стационарное устройство, поэтому колесная база отсутствует.

Полный список агрегатов смотрите на странице Поршневые компрессоры

Также поршневому компрессору С-415М присущи ремонтопригодность, простота эксплуатации и универсальность, что позволяет устанавливать такое оборудование на производственных участках самого разного назначения.

Особенности:

  • Предназначен для промышленного использования в тяжелых условиях;
  • Возможность работать не только с воздухом, но и с иными промышленными газами;
  • Представленный воздушный электрический поршневой компрессор С-415М функционирует в режиме 50/50 (чередование покоя и активности);
  • Может работать при высоком уровне запыленности и влажности;
  • Минимальное энергопотребление при достаточной мощности;
  • Неприхотливость и совместимость с крупным промышленным пневмооборудованием.

Технические характеристики

Тип Стационарный
Производительность, л/мин 630
Давление, бар 10
Объем ресивера, л 250
Расположение ресивера Горизонтальный
Мощность, кВт 5,5
Напряжение, В 380
Модель компрессорной головки С-415М
Тип привода Ременной
Размер, мм 1750х600х1350
Вес, кг 330
Реле давления Да
Страна Россия

Компрессор, модель С-415М

Компрессор С-415М
  • 1—головка компрессора;
  • 2—ограждение;
  • 3—ресивер;
  • 4—электродвигатель;
  • 5—приводные ремни;
  • 6—воздухопровод.

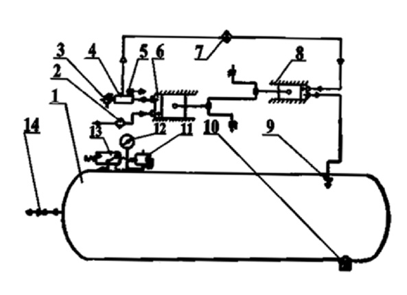
Схема пневматическая принципиальная компрессора, модель С-415М

Схема пневматическая принципиальная компрессора С-415М
  • 1 — ресивер;
  • 2 — воздушный фильтр;
  • 3 — клапан предохранительный;
  • 4 — коллектор цилиндра низкого давления:
  • 5 — пневморазгружатель;
  • 6 — цилиндр низкого давления;
  • 7 — холодильник;
  • 8 — цилиндр высокого давления;
  • 9 — блок обратного клапана;
  • 10 — влагоудалитель;
  • 11 — предохранительный клапан;
  • 12 — манометр контроля воздуха;
  • 13 — реле давления;
  • 14 — вентиль раздаточный.

Схема строповки компрессора модель С-415М

Схема строповки компрессора модель С-415М

 

Список комментариев:
Никаких комментариев пока не отправлено.
Рейтинг:

Оставьте отзыв о товаре:

Логин:

Другие модели из категории

Наверх