Заявка пуста

Обратная связь

Ваше сообщение успешно отправлено. Спасибо.

Поршневой компрессор К-30

30
5 5 1 Product
Цена по запросу

+

Характеристики

520 кг
210 х 76 х 145 см
500 л
+
1260 л/мин
300 л/мин
10 кг/м²
ZS177F

Рассматриваемый поршневой компрессор К-30 является первым устройством, сконструированным на базе двухступенчатой головки С-415М и сочетающим в себе 2 компрессора С-415 на одном ресивере. Наличие 2-х поршневых механизмов обеспечивает поршневому компрессору К-30 весьма высокую производительность (1260 л/мин).

Полный список агрегатов смотрите на странице Поршневые компрессоры

Каждый из компрессорных агрегатов оборудован собственным двигателем (5.5 кВт/380В). Точная настройка конечным пользователем реле давления обеспечивает органичное взаимодействие элементов установки. Надежность агрегата базируется на том, что при выходе из строя одной из головок, бесперебойная подача сжатого воздуха будет обеспечиваться второй.

Особенности:

  • Ресивер – 500 литров;
  • Масса – 600 кг, размеры - 2100Х760Х1450 мм;
  • Стационарный воздушный поршневой компрессор К-30 предназначен для обеспечения воздухом пневмоинструмента и строительного оборудования средней мощности;
  • Если производство предполагает высокое качество воздуха, необходима установка очистительных фильтров.

Характеристики

Тип Стационарный
Производительность, л/мин 1260
Давление, бар 10
Объем ресивера, л 500
Расположение ресивера Горизонтальный
Мощность, кВт 2 х 5,5
Напряжение, В 380
Модель компрессорной головки С-415М
Тип привода Ременной
Размер, мм 2100х760х1450
Вес, кг 600
Реле давления Два
Страна Россия

Установка компрессорная, модель К-30

Установка компрессорная, модель К-30
  • 1-ресивер;
  • 2(1), 2(2)-пускатель магнитный;
  • 3-ограждение;
  • 4-головка компрессорная;
  • 5-трубопровод;
  • 6-ремни приводные;
  • 7-двигатель.

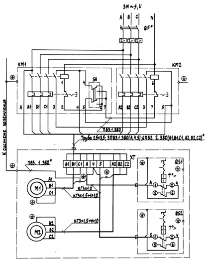
Схема электрическая принципиальная и соединений установки компрессорной, модель К-30

Схема электрическая принципиальная и соединений установки компрессорной, модель К-30

Схема строповки установки компрессорной К-30

Схема строповки установки компрессорной К-30

 

Список комментариев:
Никаких комментариев пока не отправлено.
Рейтинг:

Оставьте отзыв о товаре:

Логин:

Другие модели из категории

Наверх