Заявка пуста

Обратная связь

Ваше сообщение успешно отправлено. Спасибо.

Поршневой компрессор К-6

6_732974859
5 5 1 Product
Цена по запросу

+

Характеристики

330 кг
75 х 40 х 50
70 л
-
1100 л/мин
1500 л/мин
10 кг/м²
ZS177F

Компрессор К-6 изготавливается на базе четырехцилиндровой двухступенчатой компрессорной головки С-416М. Этот компрессор отличается простотой в эксплуатации и надежностью.

Полный список агрегатов смотрите на странице Поршневые компрессоры

Мобильный электрический поршневой компрессор К-6 идеален для проведения большинства строительных работ. Реле давления в конструкции этого компрессора отсутствует. Агрегат оптимально подходит для работ с отбойными молотками. Еще одним преимуществом аппарата является наличие колес для перемещения по рабочей зоне.

Технические характеристики

Тип Передвижной
Производительность, л/мин 1100
Давление, бар 10
Объем ресивера, л 70
Расположение ресивера Горизонтальный
Мощность, кВт 11
Напряжение, В 380
Модель компрессорной головки С-416М
Тип привода Ременной
Размер, мм 1250х690х1100
Вес, кг 220
Реле давления Нет
Страна Россия

Состав и габаритные размеры установки компрессорной К-6

  • 1-ресивер;
  • 2-выключатель автоматический;
  • 3-ограждение;
  • 4-головка компрессорная;
  • 5-трубопровод;
  • 6-ремни приводные;
  • 7-двигатель. 
Состав и габаритные размеры установки компрессорной К-6

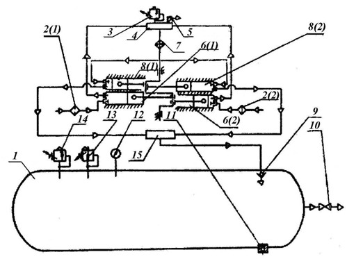
Схема пневматическая принципиальная установки компрессорной, модель К-6

  • 1-ресивер;
  • 2(1),2(2)-воздушный фильтр;
  • 3-клапан предохранительный;
  • 4-коллектор цилиндра низкого давления;
  • 5-пневморазгружатель;
  • 6(1),6(2)-цилиндр низкого давления;
  • 7-холодильник;
  • 8(1),8(2)-цилиндрвысокого давления;
  • 9-блок обратного клапана;
  • 10- вентилятор раздаточный;
  • 11-пробка сливная;
  • 12-манометр;
  • 13-регулятор давления;
  • 14-предохранительный клапан;
  • 15-коллектор цилиндравысокого давления.
Схема пневматическая принципиальная установки компрессорной К-6

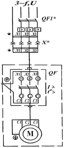
Схема электрическая принципиальная и соединений установки компрессорной, модель К-6

Подключение установки потребителем произвести кабелем КГ 3×4,0+1,0×2,5.

Схема электрическая принципиальная и соединений установки компрессорной К-6

 

Список комментариев:
Никаких комментариев пока не отправлено.
Рейтинг:

Оставьте отзыв о товаре:

Логин:

Другие модели из категории

Наверх