Компрессор К-31 изготавливается на базе четырехцилиндровой двухступенчатой компрессорной головки С-416М. Установка поршневого компрессора К-31 идеальна для проведения большинства строительных работ: оптимально подходит для работ с отбойными молотками.
Установка поршневого компрессора К-31 может применяться на производствах самого разного направления: от обеспечения сжатым воздухом пневматического инструмента до опрессовки трубопроводов. Устройство содержит реле давления и колеса, при помощи которых может без усилий передвигаться по объекту.

Технические характеристики
| Тип |
Передвижной |
| Производительность, л/мин |
1100 |
| Давление, бар |
10 |
| Объем ресивера, л |
190 |
| Расположение ресивера |
Горизонтальный |
| Мощность, кВт |
11 |
| Напряжение, В |
380 |
| Модель компрессорной головки |
С-416М |
| Тип привода |
Ременной |
| Размер, мм |
1500х750х1300 |
| Вес, кг |
360 |
| Реле давления |
Да |
| Страна |
Россия |
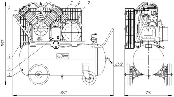
Состав и габаритные размеры установки компрессорной К-31:
- 1-ресивер;
- 2-пускатель магнитный;
- 3-ограждение;
- 4-головка компрессорная;
- 5- трубопровод;
- 6- ремни приводные;
- 7-двигатель.
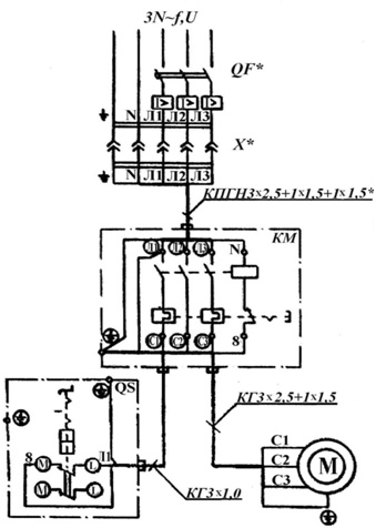
Схема электрическая принципиальная и соединений установки компрессорной, модель К-31
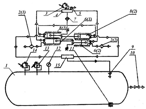
Схема пневматическая принципиальная установки компрессорной, модель К-31:
- 1-ресивер;
- 2(1), 2(2)-воздушный фильтр;
- 3-клапан предохранительный;
- 4-коллектор цилиндра низкого давления;
- 5-пневморазгружатель;
- 6(1), 6(2)-цилиндр низкого давления;
- 7-холодильник;
- 8(1), 8(2)-цилиндр высокого давления;
- 9-блок обратного клапана;
- 10- вентилятор раздаточный;
- 11-пробка сливная;
- 12-манометр;
- 13-регулятор давления;
- 14-предохранительный клапан;
- 15-коллектор цилиндра высокого давления.