Заявка пуста

Обратная связь

Ваше сообщение успешно отправлено. Спасибо.

Поршневой компрессор С-416М

111_666813319
5 5 1 Product
Цена по запросу

+

Характеристики

400 кг
180 х 70 х 140 см
430 л
+
1100 л/мин
1500 л/мин
10 кг/м²
ZS177F

Поршневой компрессор С-416М позволяет обеспечивать пневматическое оборудование сжатым воздухом с давлением до 10 кг/м³. Особенность модели — сравнительно простая конструкция и ремонтопригодность. Основные направления использования агрегата — строительные и ремонтные организации, различные отрасли промышленности. В частности, это оборудование применяют в производстве бутылок.

Полный список агрегатов смотрите на странице Поршневые компрессоры

Особенности конструкции

Цифра 4 в названии модели компрессора C-416M или М416 указывает на использование четырехцилиндровой конструкции. Это позволяет увеличить производительность агрегата до 110 л/мин сжатого воздуха. Также наличие четырех цилиндров уменьшает пульсацию потока.

Механизм приводится в движение от вала силовой установки за счет ремня. Для предотвращения аварийных ситуаций предусмотрено реле давления. Также в конструкции агрегата присутствует предохранительный клапан. Технические характеристики компрессора С-416М поршневого:

  • давление 1 мПа;
  • мощность — 11 кВт.

В конструкции агрегата предусмотрен ресивер объемом 430 л. Он позволяет обеспечивать равномерный поток сжатого воздуха. Бак герметичен и способен сохранять созданное внутри давление длительное время. Для контроля предусмотрен манометр. Он позволяет визуально определить давление воздуха внутри ресивера.

Одно из преимуществ компрессора С416М — цена. За счет простоты конструкции она ниже, чем у винтовых моделей. Агрегат поставляется с электрической силовой установкой. Питание трехфазное, 380 В.

Особенности монтажа

При стационарной установке агрегат закрепляется на достаточно массивном основании. Для снижения вибраций и шума во время работы могут применяться виброгасящие шайбы.

Охлаждение электродвигателя осуществляется за счет естественной циркуляции воздуха.

Технические характеристики компрессора С-416М

Тип Стационарный
Производительность, л/мин 1100
Давление, бар 10
Объем ресивера, л 430
Расположение ресивера Горизонтальный
Мощность, кВт 11
Напряжение, В 380
Модель компрессорной головки С-416М
Тип привода Ременной
Размер, мм 2100х700х1480
Вес, кг 480
Реле давления Да
Страна Россия

Компрессор, модель С-416М

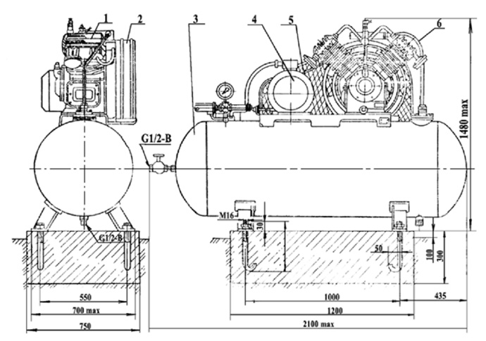
Компрессор С-416М
  • 1—головка компрессора;
  • 2—ограждение;
  • 3—ресивер;
  • 4—электродвигатель;
  • 5—приводные ремни;
  • 6—воздухопровод.

Схема электрическая принципиальная и соединений

Схема электрическая принципиальная и соединений компрессора модель С-416М

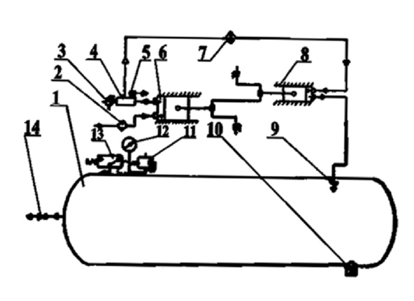
Схема пневматическая принципиальная

Схема пневматическая принципиальная компрессора С-415М
  • 1 — ресивер;
  • 2 — воздушный фильтр;
  • 3 — клапан предохранительный;
  • 4 — коллектор цилиндра низкого давления;
  • 5 — пневморазгружатель;
  • 6 — цилиндр низкого давления;
  • 7 — холодильник;
  • 8 — цилиндр высокого давления;
  • 9 — блок обратного клапана;
  • 10 — влагоудалитель;
  • 11 — предохранительный клапан;
  • 12 — манометр контроля воздуха;
  • 13 — реле давления;
  • 14 — вентиль раздаточный.

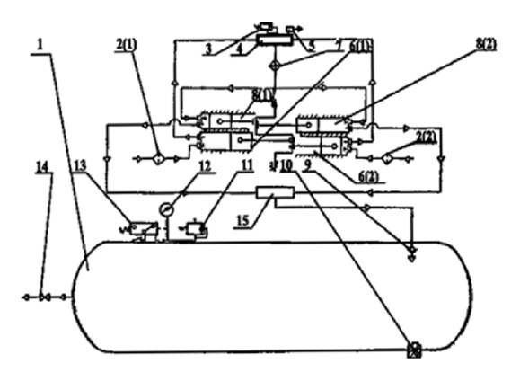
Схема пневматическая принципиальная

Схема пневматическая принципиальная компрессора С-416М
  • 1 — ресивер;
  • 2 (1) — воздушный фильтр левый;
  • 2 (2) — воздушный фильтр правый;
  • 3 — клапан предохранительный;
  • 4 — коллектор цилиндра низкого давления;
  • 5 — пневморазгружатель;
  • 6 (1) — цилиндр низкого давления левый;
  • 6 (2) — цилиндр низкого давления правый;
  • 7 — холодильник;
  • 8 (1) — цилиндр высокого давления левый;
  • 8 (2) — цилиндр высокого давления правый;
  • 9 — блок обратного клапана;
  • 10 — влагоотделитель;
  • 11 — предохранительный клапан;
  • 12 — манометр контроля воздуха;
  • 13 —реле управления;
  • 14 —вентиль раздаточный;
  • 15 — коллектор цилиндра высокого давления.

Схема строповки компрессорного оборудования

Схема строповки компрессора модель С-416М

 

Список комментариев:
Никаких комментариев пока не отправлено.
Рейтинг:

Оставьте отзыв о товаре:

Логин:

Другие модели из категории

Наверх