Заявка пуста

Обратная связь

Ваше сообщение успешно отправлено. Спасибо.

Поршневой компрессор КВ-15

15_1936190977
4.5 5 2 Product
Цена по запросу

+

Характеристики

300 кг
75 х 40 х 50
250 л
+
630 л/мин
900 л/мин
10 кг/м²
ZS177F

Промышленный поршневой компрессор КВ-15 обладает всем необходимым для полностью автономного функционирования. Особенностью электрического поршневого компрессора КВ-15 является наличие вертикального 250 литрового ресивера, позволяющего устанавливать это достаточно массивное стационарное оборудование на ограниченном пространстве.

Полный список агрегатов смотрите на странице Поршневые компрессоры

Агрегат оптимален для сложных промышленных условий использования, поскольку функционирует по принципу двухступенчатого сжатия воздуха. Также машина хорошо переносит перепады давления.

Особенности:

  • 250 литровый ресивер, производительность – 630 м/мин.;
  • Размеры - 1000Х900Х1850 мм, масса – 350 кг;
  • Промышленный воздушный компрессор КВ-15 может обеспечивать функционирование нескольких пневматических инструментов со средней мощностью;
  • Наличие пневмоавтоматики;
  • Невысокая шумность;
  • Устойчивость к сложным промышленным условиям: влажности, запыленности, вибрации и т.д.

Характеристики

Тип Стационарный
Производительность, л/мин 630
Давление, бар 10
Объем ресивера, л 250
Расположение ресивера Вертикальный
Мощность, кВт 5,5
Напряжение, В 380
Модель компрессорной головки С-415М
Тип привода Ременной
Размер, мм 1000х900х1850
Вес, кг 350
Реле давления Да
Страна Россия

Установка компрессорная, модель КВ-15:

  • 1-ресивер;
  • 2-головка компрессорная;
  • 3-двигатель;
  • 4-приводные ремни;
  • 5-трубопровод;
  • 7-ограждение.
Установка компрессорная, модель КВ-15

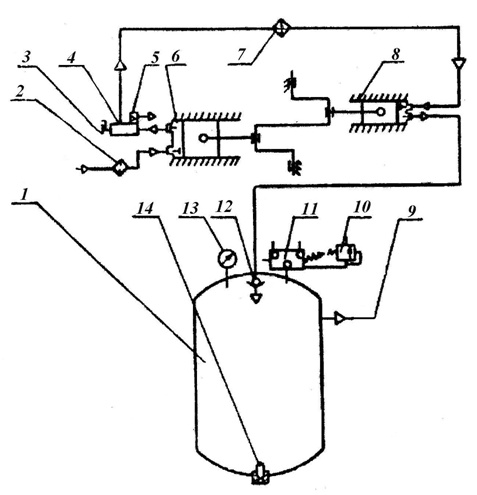
Схема пневматическая принципиальная установки компрессорной, модель КВ-15:

  • 1-ресивер;
  • 2-воздушный фильтр;
  • 3-клапан предохранительный;
  • 4-коллектор цилиндра низкого давления;
  • 5-пневморазгружатель;
  • 6-цилиндр низкого давления;
  • 7-холодильник;
  • 8-цилиндр высокого давления;
  • 9- вентиль раздаточный;
  • 10-предохранительный клапан;
  • 11-реле давления;
  • 12-блок обратного клапана;
  • 13-манометр контроля давления воздуха;
  • 14-пробка сливная.
Схема пневматическая принципиальная установки  компрессорной, модель КВ-15

Схема электрическая принципиальная и соединений установки компрессорной, модель КВ-15

Схема электрическая принципиальная и соединений установки компрессорной, модель КВ-15

 

Список комментариев:
Никаких комментариев пока не отправлено.
Рейтинг:

Оставьте отзыв о товаре:

Логин:

Другие модели из категории

Наверх