Заявка пуста

Обратная связь

Ваше сообщение успешно отправлено. Спасибо.

Поршневой компрессор К-33

33
5 5 1 Product
Цена по запросу

+

Характеристики

600 кг
190 х 62 х 135 см
500 л
+
900 л/мин
1350 л/мин
25 атм
ZS177F

Поршневой компрессор К-33 применяется для установки на специальных производствах, таких как автоматизированные линии разлива разнообразных жидкостей, изготовление пластиковых бутылок, кузнечное дело.

Полный список агрегатов смотрите на странице Поршневые компрессоры

При этом из всех представленных агрегатов именно электрический поршневой компрессор К-33 продуцирует самое высокое давление – 25 атмосфер (стандартное давление – 10 бар.). Огромная востребованность поршневого компрессора К-33 на рынке обусловлена его невысокой ценой и высокой продуктивностью – до 900 л/мин. Чаще всего устройство можно встретить в качестве компонента автоматических линий по разливу жидкостей.

Особенности:

  • Используется стационарно;
  • Реле давления, пневмоавтоматика для регулирования объемов потребляемого воздуха;
  • Экономичность;
  • Стационарный воздушный компрессор К-33 устойчив к действию вибрации, сильных электромагнитных полей, загрязненному воздуху и влажности;
  • Тонкая очистка воздуха посредством фильтрационного модуля ФМ-60/25.

Характеристики

Тип Стационарный
Производительность, л/мин 900
Давление, бар 25
Объем ресивера, л 250
Расположение ресивера Горизонтальный
Мощность, кВт 7,5 + 11
Напряжение, В 380
Модель компрессорной головки С-415М
Тип привода Ременной
Размер, мм 1950х600х1350
Вес, кг 750
Реле давления Два
Страна Россия

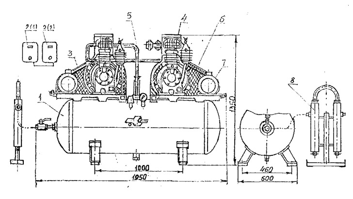
Установка компрессорная К-ЗЗ

  • 1—ресивер;
  • 2—пускатель;
  • 3—ограждение;.
  • 4—головка компрессорная;
  • 5—трубопровод;
  • 6—ремниприводные;
  • 7—двигатель;
  • 8—фильтрационный модуль.
Установка компрессорная К-33

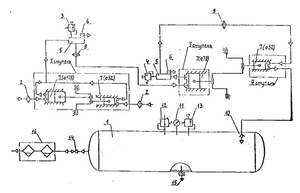
Схема пневматическая установки К-33

  • 1-ресивер;
  • 2-фильтр воздушный;
  • 3,4,13-клапан предохранительный;
  • 5-коллектор I и II ступени;
  • 6-пневморазгружатель;
  • 7-цилиндр I, II, III ступени;
  • 8, 9-холодильник;
  • 10-клапан обратный;
  • 11-манометр;
  • 12-реле давления;
  • 14-вентиль раздаточный;
  • 15-сливная пробка;
  • 16-фильтрационный модуль.
Схема пневматическая установки К-33

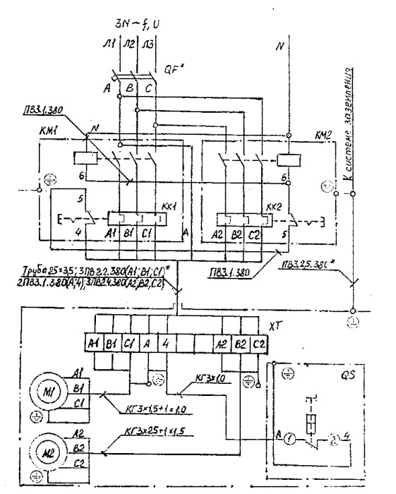
Схема электрическая принципиальная и соединений установка К-33

Схема электрическая принципиальная и соединений установка К-33

 

Список комментариев:
Никаких комментариев пока не отправлено.
Рейтинг:

Оставьте отзыв о товаре:

Логин:

Другие модели из категории

Наверх